VS1(ZN63)
Zhegui Electric
高达12kv.
50 / 60Hz.
1片
提供
最多2500A.
概述
VS1-12(ZN63A)室内高压真空断路器是三相AC 50 Hz室内高压开关设备,额定电压为7.2-12kV。断路器符合中国国家标准GB1984-2003 \“AC高压断路器”,JB3855-1996 \“3.6〜40.5 kV室内AC高压真空断路器\”,D1403-91 \“10-35 KV室内高压真空断路器订购技术条件\“和相关IEC60694。 IEC62271-100标准,互锁功能可靠。
VS1-12(ZN63A)室内高压真空断路器可以经常运行,具有多次断裂的能力和快速重新润滑。
VS1-12(ZN63A)室内高压真空断路器设计为前后单独的结构,可用作固定安装单元或用底盘汽车单独手推车。
工作融合
1.搅拌温度: - 15ºC-40ºC(每日平均≤35ºC)
2.环境湿度:每日平均相对湿度S95%
3.均线平均相对湿度≤90%
4.TUTE:≤1000m.
5.使用环境:没有滴水,火,爆炸,严重的污染,化学腐蚀和剧烈的振动
6.发射强度:≤8度
7.如果客户偏离正常使用条件,他们可以与制造商协商制造商
意思类型
Z
N
63A
-
12
/
()
-
()
真空电路
断路器
室内的
设计代码
(\“a \”是可绘制的类型)
额定电压
(kv)
额定电流
(kv)
额定短路
打破电流
(kv)
概述
VS1-12(ZN63A)室内高压真空断路器是三相AC 50 Hz室内高压开关设备,额定电压为7.2-12kV。断路器符合中国国家标准GB1984-2003 \“AC高压断路器”,JB3855-1996 \“3.6〜40.5 kV室内AC高压真空断路器\”,D1403-91 \“10-35 KV室内高压真空断路器订购技术条件\“和相关IEC60694。 IEC62271-100标准,互锁功能可靠。
VS1-12(ZN63A)室内高压真空断路器可以经常运行,具有多次断裂的能力和快速重新润滑。
VS1-12(ZN63A)室内高压真空断路器设计为前后单独的结构,可用作固定安装单元或用底盘汽车单独手推车。
工作融合
1.搅拌温度: - 15ºC-40ºC(每日平均≤35ºC)
2.环境湿度:每日平均相对湿度S95%
3.均线平均相对湿度≤90%
4.TUTE:≤1000m.
5.使用环境:没有滴水,火,爆炸,严重的污染,化学腐蚀和剧烈的振动
6.发射强度:≤8度
7.如果客户偏离正常使用条件,他们可以与制造商协商制造商
意思类型
Z
N
63A
-
12
/
()
-
()
真空电路
断路器
室内的
设计代码
(\“a \”是可绘制的类型)
额定电压
(kv)
额定电流
(kv)
额定短路
打破电流
(kv)
铜李子接触
它具有电弧电阻和热稳定性等优点
环氧树脂综合成型,绝缘管,内裙和加固,提高绝缘水平和电流能力的动态稳定性
新的操作机制
真正的敢于展示,组织,航空插入严格选择新的真实,拒绝翻新
SDSADA我是你♥SDASD视觉窗口
产品特定的接触位置只是窗口,以避免使用可靠的接触误操作只是窗口状态一目了然
真空Tuoe细节
在Zhegui断路器中使用的大型真空管是普通疫电的两倍,外绝缘是耐腐蚀和耐磨性的,并且具有大的破碎能力,长期寿命和许多允许破碎时间的特点
铜李子接触
它具有电弧电阻和热稳定性等优点
环氧树脂综合成型,绝缘管,内裙和加固,提高绝缘水平和电流能力的动态稳定性
新的操作机制
真正的敢于展示,组织,航空插入严格选择新的真实,拒绝翻新
SDSADA我是你♥SDASD视觉窗口
产品特定的接触位置只是窗口,以避免使用可靠的接触误操作只是窗口状态一目了然
真空Tuoe细节
在Zhegui断路器中使用的大型真空管是普通疫电的两倍,外绝缘是耐腐蚀和耐磨性的,并且具有大的破碎能力,长期寿命和许多允许破碎时间的特点
产品结构绘图
结构和功能
1.用于在能量存储到位之间切换的晶体开关
2.再入存放驱动链轮
3.企业储存驱动轮
4.中储存以维持闩锁
5.Energy存储张力弹簧
6.管理能量储存温暖
7.管理能量存储传动蠕虫GEA
8.Motor Drive Skocket.
9.ERGY储存电机
10.接口驱动弯曲
11.Drive链
12.Locking Electromagne.
13.锁定电磁铁以锁定铁芯
14.身份储藏轴
15.Drive凸轮轴
16.CAM.
17.身份存储标志
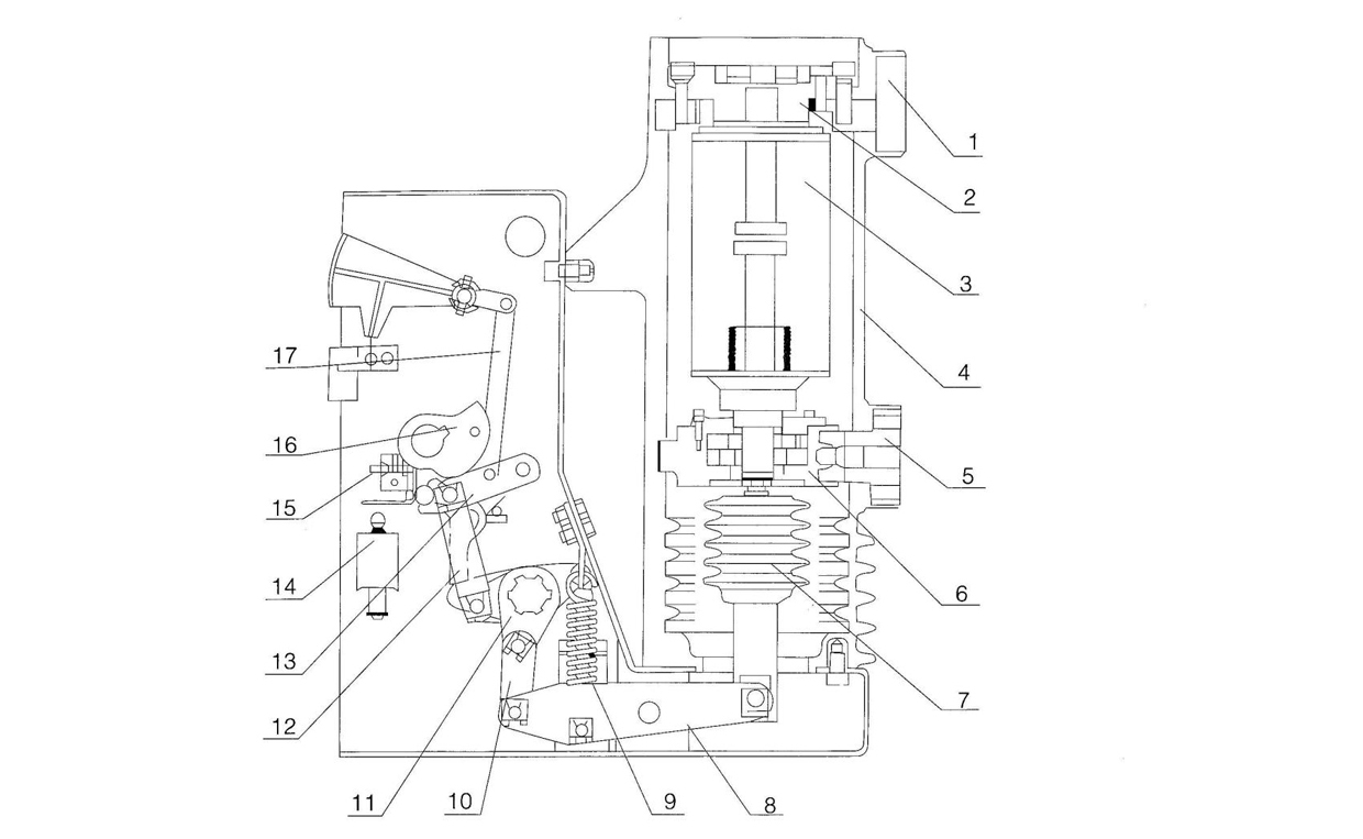
1.上插座块
2.上括号
3.真空断路器
4.绝缘圆柱形
5.低底座
6.下括号
7.绝缘拉杆(内部有圆盘簧)
8.传动曲柄臂
9.打开春天
10.驱动连接板
11.主轴驱动曲柄臂
12.打开保持闩锁
13.连接板
14.开放释放
15.手动分析喷射器
16.可以
17. On-Effindicator董事会
产品结构绘图
结构和功能
1.用于在能量存储到位之间切换的晶体开关
2.再入存放驱动链轮
3.企业储存驱动轮
4.中储存以维持闩锁
5.Energy存储张力弹簧
6.管理能量储存温暖
7.管理能量存储传动蠕虫GEA
8.Motor Drive Skocket.
9.ERGY储存电机
10.接口驱动弯曲
11.Drive链
12.Locking Electromagne.
13.锁定电磁铁以锁定铁芯
14.身份储藏轴
15.Drive凸轮轴
16.CAM.
17.身份存储标志
1.上插座块
2.上括号
3.真空断路器
4.绝缘圆柱形
5.低底座
6.下括号
7.绝缘拉杆(内部有圆盘簧)
8.传动曲柄臂
9.打开春天
10.驱动连接板
11.主轴驱动曲柄臂
12.打开保持闩锁
13.连接板
14.开放释放
15.手动分析喷射器
16.可以
17. On-Effindicator董事会
主要技术参数
| 数字 | 姓名 | 单元 | 数据 | |||
| 1 | 联系距离 | 毫米 | 11±1 | |||
| 2 | 联系超级旅行 | 3.5 + 0.5 | ||||
| 3 | 三相非同步关闭开放 | 多发性硬化症 | ≤2. | |||
| 4 | 反弹关闭接触时间 | 多发性硬化症 | ≤2. | |||
| 5 | 关闭接触接触压力 | N | 20kA. | 25kA. | 31.5ka. | 40kA. |
| 2000±200. | 2400±200. | 3100±200. | 4750 + 250. | |||
| 6 | 平均开度速度 | 多发性硬化症 | 0.9-1.2 | |||
| 7 | 平均关闭速度 | 0.5-0.8 | ||||
主要技术参数
| 数字 | 姓名 | 单元 | 数据 | |||
| 1 | 联系距离 | 毫米 | 11±1 | |||
| 2 | 联系超级旅行 | 3.5 + 0.5 | ||||
| 3 | 三相非同步关闭开放 | 多发性硬化症 | ≤2. | |||
| 4 | 反弹关闭接触时间 | 多发性硬化症 | ≤2. | |||
| 5 | 关闭接触接触压力 | N | 20kA. | 25kA. | 31.5ka. | 40kA. |
| 2000±200. | 2400±200. | 3100±200. | 4750 + 250. | |||
| 6 | 平均开度速度 | 多发性硬化症 | 0.9-1.2 | |||
| 7 | 平均关闭速度 | 0.5-0.8 | ||||
